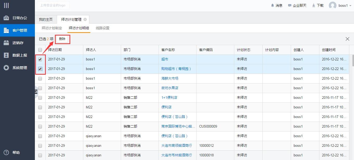
1、 Q:明天我请假,想要删除拜访计划,怎么操作?

A:高级拜访计划删除必须要计划制定人来操作,在拜访计划明细中通过筛选找到想要删除的计划,选中之后删除即可。

2、Q:昨天计划没有完成,未拜访的计划可不可以删除?

A:计划只能删除未来的计划(包括当前日期未拜访的计划),之前的计划不可删除。